WATER BASED LOCAL FIRE FIGHTING SYSTEM 정리!!!
<목차>
1. 들어가며
2. 작동 개념
3. 작동 FLOW
4. 수동 작동 방법
5. 관리 및 정비
1. 들어가며
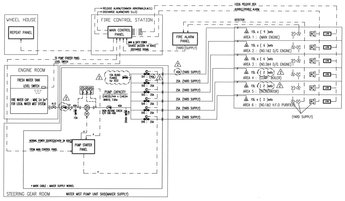
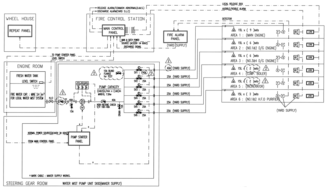
L.F.F.S란 고정식 소화장치 중 하나로써 고정식 CO2소화장치와 함께 기관실 주요 기기에 화재 발생 시에 ALARM 발생 뿐만 아니라 실질적으로 물(Fresh water)을 분사하여 자동으로 화재를 진압 혹은 화재 진압에 도움을 주도록 고안된 장치이다.
2. 작동 개념
E/R 각각의 주요 화재 발생 가능성이 높은 기기(Main engine, Generator, Compressor, Boiler, Incinerator, Purifier)의 상부에 FLAME DETECTOR와 SMOKE DETECTOR가 부착되어 있다. 이 두 개의 DETECTOR 중 하나의 DETECTOR만이 작동할 경우 물은 분무가 안되고 PRE-WARNING ALARM만 발생하게 되며 ALARM RESET을 시켜주기 전까지 지속적으로 울리게 된다.
위 상황에서 FLAME과 SMOKE 두 개의 DETECTOR 모두가 작동되게 되면 각 E/R 각 구역마다 설치되어 있는 SIGNAL LIGHT COLUMN에 WATER ALARM이 발생하며, 그 구역에 해당하는 기기 상부에 물이 분무가 되기 시작한다.
즉 한 구역에 FLAME과 SMOKE 두개의 DETECTOR가 동시에 작동되어야만 실질적인 화재 진압 SYSTEM이 작동되게 되는 것이다. 이는 잘못된 SENSING으로 인한 물 분사를 방지시켜주며, 좀 더 정확하게 화재 SIGNAL을 인지하기 위함이다.

3. 작동 FLOW
위에서 설명하였듯이 두 개의 DETECTOR가 감지를 하게 되면 DETECTOR가 위치한 구역으로 가는WATER LINE PIPE의 SOLENOID V/V가 열리고, WATER MIST PUMP가 작동되어 해당 기기 위에 설치 되어있는(청색 도장) SPRINKLER의 NOZZLE을 통해 물이 분무된다. 기관실에 SPRINKLER 장치가 되어있는 MACHINERY 구역은 총 6 구역으로 아래와 같이 나누어 진다.
1) MAIN ENGINE
2) NO.1&2 G/E
3) NO.3&4 G/E
4) COMP. BOILER
5) INCINERATOR
6) NO.1&2 H.F.O PURIFIER
4. 수동 작동 방법
기기 화재 발생시 여러 이유로 인하여 자동으로 물이 분무가 안될 경우에는 수동으로 작동을 시켜줘야 할 것이다.
수동 작동을 시킬수 있는 곳은 A-DECK FIRE CONTROL STATION과 PUMP UNIT이 있는 S/G RM, 그리고 각 기기 근처에 있는 LOCAL RELEASE BOX다.
1) F.C.S에서의 작동방법
먼저 F.C.S에 설치되어 있는 MAIN CONTOL PANEL FOR WATER BASED LOCAL FIRE FIGHTING SYSTEM으로 이동하여 S/W BOARD에 있는 CTRL. MODE(주황색)를 MANUAL로 설정을 바꾼다. 그 다음 분무시키고자 하는 기기에 해당하는 START 버튼을 누른다.

2) S/G RM에서의 작동방법
S/G RM 내에 있는 LOCAL FIRE FIGHTING PUMP STARTER PANEL에서 물을 분무시키고자 하는 MACHINERY 구역이 표시된 PIPE LINE의 SOLENOID V/V를 찾는다. SOLENOID V/V를 MANUAL로 V/V를 OPEN 시킨 후 PUMP STARTER PANEL에서 CTRL. MODE를 REMOTE에서 LOCAL로 변경시키고 START 버튼을 누르면 원하는 MACHINERY 구역에 물이 분무된다.

(M/E LINE은 다른 LINE과 다르게 용량이 크기에 40A로 설치되어 있다.)
<참고>
현재 본선은 FIRE CONTROL STATION 및 LOCAL RELEASE BOX에서 버튼을 누르면 작동할수 있는 MODE인 REMOTE MODE임.
3) LOCAL RELEASE BOX에서의 작동방법
SPLINKLER가 설치된 기기의 LOCAL에 가면 수동으로 물을 분무시켜주는 BOX의 DOOR를 열고 즉시 SYSTEM START 버튼을 누른다.
다음은 각각의 기기의 LOCAL의 MANUAL S/W의 위치이다.
- 1) MAIN ENGINE: A-DK에서 ECR로 내려오는 계단 부근
- 2) NO.1&2 D/G / NO.3&4 D/G / NO.1&2 H.F.O PURIFIER: 청정기실 앞
- 3) COMP. BOILER: B-DK E/R CASING
- 4) INCINERATOR: A-DK E/R CASING


(BOX DOOR를 열고 SYSTEM START 버튼을 누르면 그 즉시 가동된다.)
5. 관리 및 정비
AIR LINE(15A)을 통하여 AIR BLOW 해주는 방법으로, AIR BLOW하고자 하는 기기의 LINE에 해당하는 SOLENOID V/V를 수동으로 열어준 후(-드라이버를 이용) AIR LINE을 연결하여 AIR를 불어주면 된다.
이는 오랜 기간 사용하지 않아 관 내에 존재할 수 있는 이물질을 제거하기 위함이다.


댓글